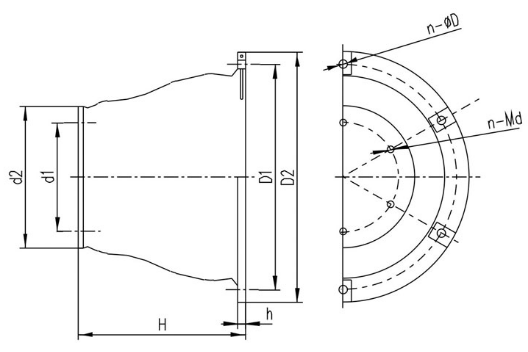
Super Cone fender
Features:
High Energy Absorption, Low reaction force;
Excellent multi-directional angular performance;
High Durability;
Large Range Performance;
Easy Installation;
Applications:
Container Terminals;
Oil and LNG Facilities;
Grocery Ship;
Ro-RO Ship and Cruise Terminal;
Shipyard;
Multi-user berths;



